Скриншоты




Описание приложения
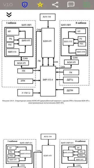
Быстрый доступ к технической документации прямо на рабочем месте — без поиска по папкам и бумажным архивам. Данная инструкция включает в себя плановые проверки на КП АЛСН (контрольных пунктах) при ТО-2, ТО-3, ТР-1, ТР-2, ТР-3 локомотивов. Распространяется на устройства АЛСН, КПД-3, КЛУБ-У, САУТ и другие системы безопасности.
Описание приложения
Быстрый доступ к технической документации прямо на рабочем месте — без поиска по папкам и бумажным архивам. Данная инструкция включает в себя плановые проверки на КП АЛСН (контрольных пунктах) при ТО-2, ТО-3, ТР-1, ТР-2, ТР-3 локомотивов. Распространяется на устройства АЛСН, КПД-3, КЛУБ-У, САУТ и другие системы безопасности.
Разработчик
Borovikov VladПоддержка приложения
vadimtuzhelyak@yandex.ru
Дополнительно
Минимальная версия Android: 7
Возможно, вам понравится
СберKids
Финансы·Образование
Госуслуги Моя школа
Образование·Родителям
Моя школа Дневник
Образование
Duolingo: уроки иностранного
Образование
Учи.ру 1–4 класс
Образование
Learn Languages: Pingo AI
Образование
Английский язык Lingo Magic
Образование·Развлечения
NetSchool
Образование·Родителям
Быстрый Поиск и Браузер – с бесплатным AI
Полезные инструменты·Образование
ArtWorkout
Образование
Немецко-русский переводчик
Полезные инструменты·Образование
Дневник.ру
Образование
Фоксфорд: Учебник и тренажер
Образование
Дневник Новосибирской области
Образование·Родителям
Лекта+
Книги·Образование
Террикон.Дневник
Образование·Родителям
GetCourse
Образование
Петербургское образование. Электронный Дневник
Образование·Родителям
vadimtuzhelyak@yandex.ru
Минимальная версия Android: 7
